MIL-V-62358(AT)

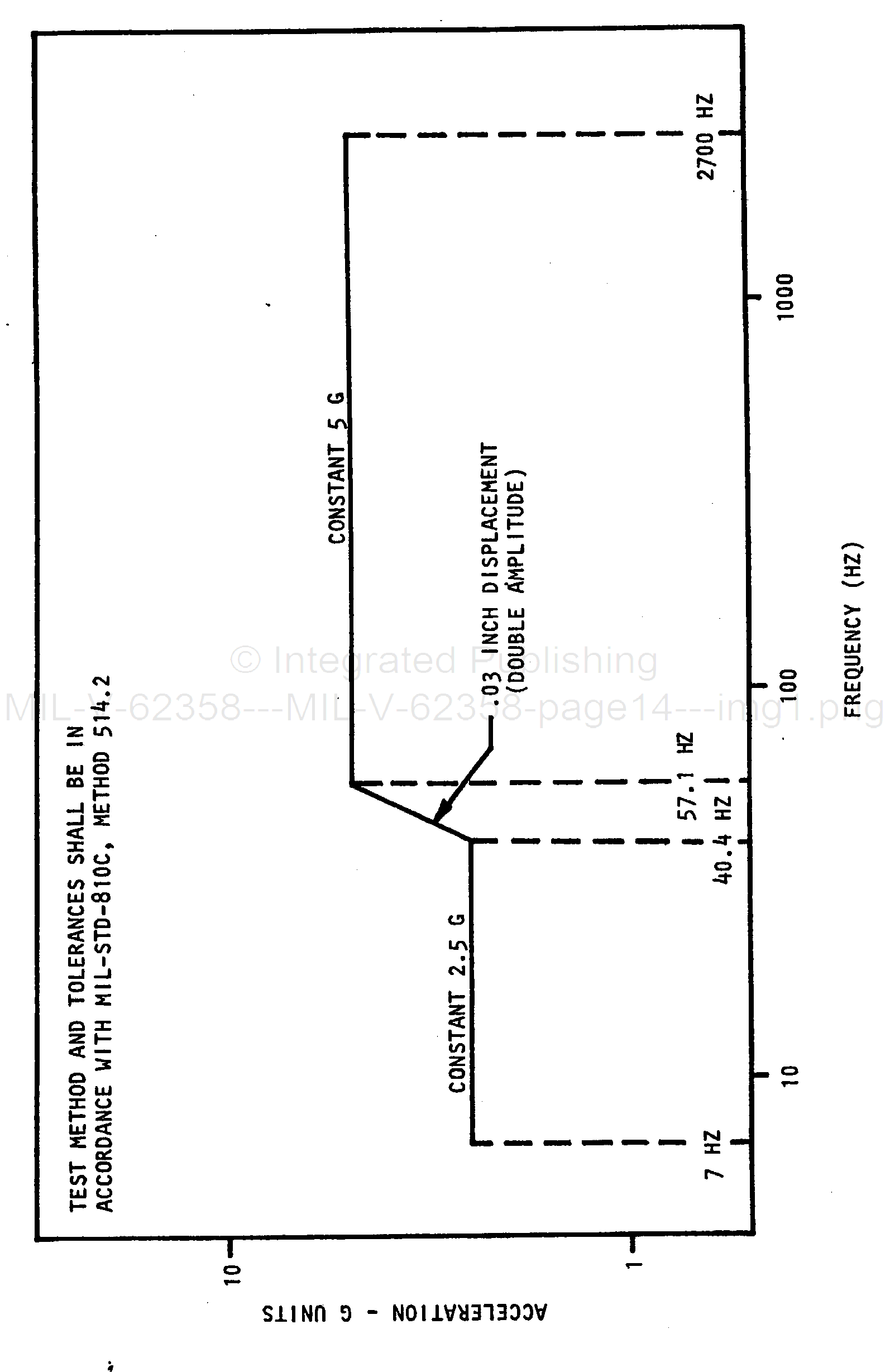
FIGURE 1. Solenoid valve assembly sinusoidal vibration test schedule.
14
For Parts Inquires call Parts Hangar, Inc (727) 493-0744
© Copyright 2015 Integrated Publishing, Inc.
A Service Disabled Veteran Owned Small Business
MIL-V-62358(AT)

FIGURE 1. Solenoid valve assembly sinusoidal vibration test schedule.
14